本文化纤纺织,聚酯石化压力草莓视频APP色版资料由优质草莓视频APP色版生产报价厂家为您提供。
产品概述:
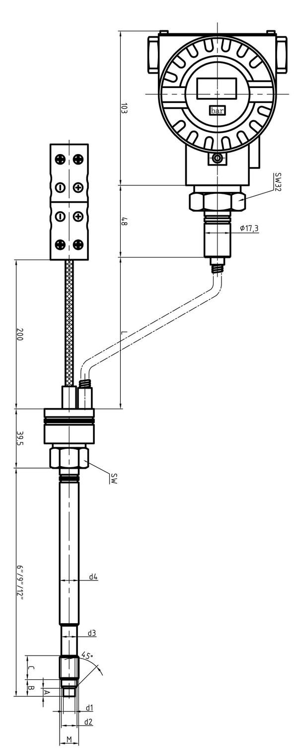
PT124B-129挠性管智能高温压力草莓视频APP色版,是采用数字电路补偿技术、液晶显示器、铝合金防爆外壳设计生产的高精度、高稳定性压力测量仪。它特别适用于双线4 ~ 20 ma负载的HART协议输出场合。主要用于化纤纺丝、聚酯等高温流体设备中高温流体介质的压力测量和控制。配合我公司的智能数显仪表(,),可实现系统压力显示的报警或控制。
技术规格:
范围:0…3.5兆帕~ 0…150兆帕
综合精度:0.25% FS;0.5%FS
输出信号:4 ~ 20mA(HART协议)
电源电压:24(12~36)伏直流电
工艺连接:1/2”-20 UNF,M14× 1.5,M18× 1.5,G3/4(客户定义)
隔膜温度:350℃(最高400℃)
隔膜材料:15-5PH涂层不锈钢
电气连接:直接引线
产品尺寸图


安装孔尺寸示意图

产品特性:
高成本效益
铝合金防爆外壳,液晶现场显示
易于安装
80%内部校准
良好的稳定性和重复性

上海朝晖订购说明:
1.订购前请仔细阅读产品资料,并清楚注明产品的规格、型号、材料、介质、温度、连接方式、运行方式、数量和表面处理情况。当我公司需要排版设计时,请提供所需覆盖区域的完整平面图、结构图、三维详图和节点图,并指出:
◆订购产品时,请填写订购单位、收货单位和付款单位的名称、邮寄地址(包括省、市、地、区、县、街道和号码)、电话号码、邮政编码、开户银行、账号和代表。永远不要忽略它。
◆过去,邮寄或快递样品会给草莓视频在线观看入口带来很大的费用,所以如果你需要草莓视频在线观看入口给你寄样品。
◆检查说明(卸载):
1.仔细比较与货物一起交付的布局图和装箱单,检查包装箱是否损坏。
2.选择合适的方法和工具,防止产品变形或损坏;草莓视频在线观看入口公司非常重视服务问题。为了达到客户满意的产品标准,草莓视频在线观看入口必须与客户共享经验、信息、承诺和目标,并通过合作开发出优秀的产品。你的企业就是草莓视频在线观看入口的企业,你的客户就是草莓视频在线观看入口的客户。如果你不满意,那么草莓视频在线观看入口所有的发展口号都只是一张白纸!无论您对产品设计、价格、计划、流程、时间表、运输路线等提出什么问题,都有一名专门的客户服务人员为您解答。非常熟悉工厂流程的客户服务人员将为您提供从下单到生产完成和运输的周到服务。详情请咨询400-876-3876
上海朝晖【压力传感器】相关产品:
产品型号产品名称
PT124G-111经济型直杆熔体压力传感器
PT124G-111T经济型直杆温度和压力集成熔体传感器
PT124G-112替代进口直杆式熔体压力传感器
PT124G-112T替代进口直杆温压集成熔体传感器
PT124G-113环保型直杆熔体压力传感器
PT124G-113T环保型直杆温压一体化熔体传感器
PT124G-116法兰直杆熔体压力传感器
PT124G-121软管经济型熔体压力传感器
PT124G-121T软管经济温度和压力集成熔体传感器
PT124G-123T替代进口软管式温压熔体传感器
PT124G-123取代进口软管熔体压力传感器
PT124G-122环保软管熔体压力传感器
PT124G-122T环保型软管温度和压力集成熔体传感器
PT124G-125防爆软管熔体压力传感器
PT124G-125T防爆软管温度和压力集成熔体传感器
PT124G-126法兰软管熔体压力传感器
PT124G-128薄膜腔熔体压力传感器
PT124B-111经济型直杆熔体压力草莓视频APP色版
PT124B-111T经济型直杆温度和压力集成熔体草莓视频APP色版
PT124B-121软管经济熔体压力草莓视频APP色版
PT124B-121T软管经济温度和压力集成熔体草莓视频APP色版
PT124B-112替代进口直杆熔体压力草莓视频APP色版
PT124B-112T取代进口直杆集成熔体温度和压力草莓视频APP色版
PT124B-123替代进口软管型熔体压力草莓视频APP色版
PT124B-123T替代进口软管式温压熔体草莓视频APP色版
PT124B-113环保型直杆熔体压力草莓视频APP色版
PT124B-113T环保型直杆温度压力一体化熔体草莓视频APP色版
PT124B-122环保软管熔体压力草莓视频APP色版
PT124B-122T环保型软管温度和压力集成熔体草莓视频APP色版
PT124B-115防爆熔体压力草莓视频APP色版
PT124B-129智能数字显示器熔体压力草莓视频APP色版
PT124B-129T智能数字显示温度和压力集成熔体草莓视频APP色版
PT124B-116法兰型直杆熔体压力草莓视频APP色版
PT124B-126法兰软管熔体压力草莓视频APP色版
PT124B-125防爆软管熔体压力草莓视频APP色版
PT124B-125T防爆软管温度和压力集成熔体草莓视频APP色版
PT124B-128薄膜腔熔体压力草莓视频APP色版
PT124B-112D一键复位直杆熔体压力草莓视频APP色版
PT124B-123D单键透明软管熔体压力草莓视频APP色版
PT124B-123DT单键透明软管式温压整体熔体草莓视频APP色版
PT124G-210标准工业压力传感器
PT124G-211微熔工业控制压力传感器
PT124G-213陶瓷工业控制压力传感器
PT124G-214平板薄膜工业压力传感器
PT124B-210标准工业控制压力草莓视频APP色版
PT124B-211微熔工业控制压力草莓视频APP色版
PT124B-214喷射泵压力草莓视频APP色版
PT124B-212扩散硅工业控制压力草莓视频APP色版
PT124B-213陶瓷工业控制压力草莓视频APP色版
PT124B-214平板薄膜工业控制压力草莓视频APP色版
PT124B-215全焊接本质安全防爆工业控制压力草莓视频APP色版
PT124B-216LCD数字显示工业控制压力草莓视频APP色版
PT124B-217夹钳式工业控制压力草莓视频APP色版
PT124B-218中高温工业控制压力草莓视频APP色版
PT124B-219防腐海洋工业控制压力草莓视频APP色版
PT124B-220输入类型液位草莓视频APP色版
PT124B-221数字显示输入类型液位草莓视频APP色版
PT124B-222插件类型液位草莓视频APP色版
PT124B-223快插密封型液位草莓视频APP色版
PT124B-224耐腐蚀性液位草莓视频APP色版
PT124B-225电容液位草莓视频APP色版
PT124B-280标准防爆压力草莓视频APP色版
PT124B-281耐腐蚀防爆压力草莓视频APP色版
PT124B-282智能防爆压力草莓视频APP色版
PT124B-283平面膜防爆压力草莓视频APP色版
PT124B-284夹具防爆压力草莓视频APP色版
PT124B-285中高温防爆压力草莓视频APP色版
PT124Y-610直杆高温熔体压力计
PT124Y-612带传输输出的直杆式熔体压力计
PT124Y-613直杆磁接触压力表
PT124Y-614软管熔体压力表
PT124Y-615软管带输出熔体压力表
PT124Y-615T挠性管温压一体化熔体压力计
PT124Y-616带触点的磁组输出压力表
PT124Y-617法兰熔体压力表
PT124Y-620标准隔膜压力表
PT124Y-621耐高压冲击隔膜压力表
PT124Y-622压板防震隔膜压力表
PT124Y-623卡扣式防震隔膜压力表
PT124Y-624法兰防震隔膜压力表
PT124Y-625抗震轴向安装隔膜压力表
PT124Y-627气缸压力表
PT124B-2501灌浆传感器
PT124B-2503灌浆传感器
PT124B-2504灌浆传感器
PT124B-2511土压传感器
PT124B-2512土压传感器
PT124B-2513土压传感器
PT124B-2521压裂车专用压力传感器(联管传感器)
PT124B-230专用空调压力草莓视频APP色版
PT124B-231专用空调压力草莓视频APP色版
PT124B-232压缩机特定压力草莓视频APP色版
PT124B-233压缩机特定压力草莓视频APP色版
PT124B-234压缩机特定压力草莓视频APP色版
PT124B-235压缩机专用压力草莓视频APP色版
PT124B-240电子发动机机油压力草莓视频APP色版
PT124B-241燃油泵压力传感器
汽车ABB系统的PT124B-242 压力草莓视频APP色版
PT124B-243汽车燃油缸高压共轨压力草莓视频APP色版
PT124B-244 压力草莓视频APP色版
PT124G-650数显隔膜压力表
PD9001智能PID控制仪
N70智能压力显示仪
N80智能压力显示仪
N90智能压力显示仪
N60智能压力和温度指示器
N50智能压力和温度指示器
N10智能压力和温度指示器
WR-200工业温度传感器
WR-201工业温度传感器
WR-202工业温度传感器
WR-203工业温度传感器
BP1010挤出机的爆破阀
BP1020螺栓式爆破阀
GPD35煤矿压力传感器
GUY5煤矿料位传感器
PT124B-2506灌浆压力传感器
PT124B-2507灌浆密度传感器
PT124B-626灌浆隔膜压力表
VEF310-40集成电磁流量计
PT124B-100高温蒸汽压力传感器
《化纤纺织,聚酯石化压力草莓视频APP色版》本文地址:http://www.shfengxiao.com/news/js/801.html 转载请勿删除!
全国服务热线